LG patents a smartpen device with flexible display and plenty of sensors!
Our daily life has become more and more comfortable with various convenient gadgets. The device in our article today is the smart stylus pen. A good news for LG fans is coming since LG has patented a smartpen with the flexible display. Keep reading for more details right below!

LG patents a smartpen with a flexible display and plenty of sensors!
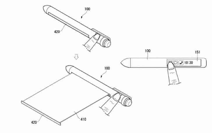
Last week, in the latest “Bizarre Inventions,” LG has patented a smart stylus pen that can potentially replace your phone. The key feature of the stylus pen is the two displays. It incorporates a small one for app shortcuts, notifications and time. Meanwhile, the bigger display is of the flexible variety. In details, a dedicated button rolls out and retracts the display so you can use it as a conventional smartphone when needed.
Moreover, it can run all the regular apps and be used for browsing and texting. Besides, the pen’s displays may follow the design and technology of LG’s 65-inch roll-able TV. On top of that, the pen might carry various sensors which could be found in modern smartphones. They include gyro, e-compass, proximity, pressure, camera and even eye-tracking sensors. Furthermore, there may be also a fingerprint reader, microphone and earpiece, making the pen a full-fledged handset.

Apart from the display and sensors, the patent hints at another interesting feature. This feature allows the pen to be paired with any smart device like a phone or a tablet. The connection turns the writing on whichever surface into writing in the paired device’s screen.
LG smart stylus pen release date and price
At the moment, there is yet any information related to this smartpen’s price or release date from LG. However, we expect the company to launch the pen next year autumn. Are you looking forward to this device? Drop a comment to share with us your ideas and stay tuned!






